Skip to main navigation Skip to main content
  • E-Submission

JKSPE : Journal of the Korean Society for Precision Engineering

OPEN ACCESS
ABOUT
BROWSE ARTICLES
EDITORIAL POLICIES
FOR CONTRIBUTORS
REGULAR

해석적 방법을 통한 크랙에서 나타나는 SM45C, Short Fiber GFRP 및 Woven Type CFRP의 J-Integral들에 대한 비교 연구

Comparative Study on J-Integrals of SM45C, Short Fiber GFRP and Woven Type CFRP Shown at Crack through Analytical Method

Journal of the Korean Society for Precision Engineering 2019;36(6):567-573.
Published online: June 1, 2019

1 공주대학교 대학원 기계공학과

2 경상대학교 기계항공공학부

3 공주대학교 기계자동차공학부

1 Department of Mechanical Engineering, Graduate School, Kongju National University

2 School of Mechanical & Aerospace Engineering, Gyeongsang National University

3 School of Mechanical & Automotive Engineering, Kongju National University

#E-mail: jucho@kongju.ac.kr, TEL: +82-41-521-9271
• Received: September 18, 2018   • Revised: October 16, 2018   • Accepted: January 15, 2019

Copyright © The Korean Society for Precision Engineering

This is an Open-Access article distributed under the terms of the Creative Commons Attribution Non-Commercial License (http://creativecommons.org/licenses/by-nc/3.0) which permits unrestricted non-commercial use, distribution, and reproduction in any medium, provided the original work is properly cited.

  • 12 Views
  • 0 Download
prev next
  • Transportation machine manufacturers are putting in efforts on research based on weight reduction. One of the representative materials for weight reduction is Fiber Reinforced Plastic (FRP). Increased used of FRP, glass fiber and carbon fiber could be a way of weight reduction. It is almost unavoidable to generate holes or notches during structural design. Little research have been carried out based on cracks with respect to materials used for design. The utilization of finite element analysis and the reliability of the analysis methods are increasing in order to promptly cope with the damages in materials. In this study, Compact Tension (CT) model based on ASTM E647 was designed using SM45C, steel for structural use, short fiber Glass Fiber Reinforced Plastic (GFRP), and woven type Carbon Fiber Reinforced Plastic (CFRP). In addition, J-Integral, which is a factor for determination of growth of crack that appears in cracks, was applied to general structure analysis. J-Integral is an equation of the body force of the material and strain energy in accordance with the loading force, and illustrates the crack growth using energy release rate. J-Integral values of SM45C, short fiber GFRP and woven type CFRP were found to be approximately 74,978 mJ/mm2, 7492.3 mJ/mm2 and 6222.4 mJ/mm2, respectively.

u

Displacement vector within each mesh at the terminal end of the crack

N I

Conventional nodal shape function

uI1=

Displacement vector in subelement 1

uI2=

Displacement vector in subelement 2

f(x)

Crack surface definition (f(x)=0)

H(fx))

the Heaviside step function (defined as H(x) = 1(x > 0), H(x) = 0(x ≤ 0))

J

J-Integral value

σ ij

Stress tensor

u j

Displacement vector

w

Strain energy density

δ 1j

Kronecker delta

X i

Coordinate axis

q

Crack-extension vector

A

Area
Transportation machine manufacturers throughout the world are actively pursuing research on weight reduction. The most effective method of weight reduction is the reduction in the weight of the materials used. However, in execution of material weight reduction, it is necessary to conduct the extensive range of research to secure appropriate design method and reliability for the corresponding material.1-5 Fiber-Reinforced plastic is one of such future lightweight materials. In the case of Fiber-Reinforced plastic, it employs the principle similar to the construction of strong structures by mixing rebar with concrete. That is, they are mixed without altering the respective mechanical characteristics of the fiber and matrix to show the mechanical characteristics that are greater than when they are used separately as individual materials.6-11 Therefore, in this study, the Glass Fiber Reinforced Plastic (GFRP) in short fiber structure and the woven type Carbon Fiber Reinforced Plastic (CFRP), which are being used increasingly more frequently, are used as research materials. SM45C metal was selected as the basic material in order to compare with the aforementioned two types of Fiber-Reinforced plastic.
It is unavoidable to make holes or notches in the material when designing mechanical structures. This, from the perspective of the material, becomes the crack within material. Crack generates stress intensity in and weakens the overall strength of the material. Therefore, when it becomes necessary to rely on the strength in accordance with the material property test in designing the mechanical structure, such cracks can induce accident arising from the structural fracture.12 As such, it is possible to evaluate the stress intensity and strength due to the crack in accordance with the Compact Tension (CT) experiment stipulated under the industrial specifications of the USA. This method has been formalized through the experiment based on ASTM E647. In this study, the finite element analysis description based on experiment in accordance with ASTM E647 was used.13 In the finite element analysis, the method of analyzing the stress intensity of the part at which fracture occurs with J-Integral has been employed by grafting the fracture mode at the cracked area. Since the fracture of element is determined to be an error in the general finite element analysis, it is possible to substantially improve the similarity with the actual experiment by adding mathematical techniques on fractures. Accordingly, it is possible to provide the basic data of mechanical design by evaluating the intensity of cracked area in all the materials in this study and by assessing the reliability of the materials through comparison of the ensuing results.
Structural analysis by using finite element method is currently used by an extensive range of companies and research institutes. This not only reduces time and cost of researcher but also has the advantage of being able to confirm the fractures that appear inside the material from microscopic perspective. However, since the finite element analysis method is progressed with mathematical technique as the foundation, the technique to improve reliability and accuracy is being researched continuously. Currently, the general structural analysis has accuracy of approximately 80%. Similar to this study, although much research has been done in the format of general structure analysis regarding the finite element analysis of strength characteristics shown in the cracked area, there has not been much research that has grafted use of mathematical fracture mode onto analysis. In this study, the method of improving the reliability and accuracy of analysis results by grafting the fracture mode onto the general structure analysis is used with ANSYS as the finite element analysis program.
2.1 Analysis Model
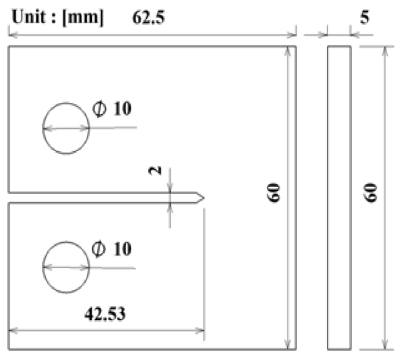
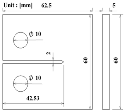
The specifications of analysis method used in this study are given in the Fig. 1, which is the design model based on ASTM E647.14 The analysis was carried out by using the same specifications of 5 mm, 62.5 mm and 60 mm for thickness, length and width, respectively, for all the materials, namely, SM45C, short fiber GFRP and woven type CFRP. The specifications of analysis model were set the same to compare each material.
Fig. 1

Specifications for analysis model

KSPE_2019_v36n6_567_f001.jpg
Fig. 2 illustrates the mesh configuration of the research model used in this study. The triangular mesh was used to minimize the distortion in the curve.15 Moreover, the use of triangular mesh enables unconstrained confirmation of the direction of progress of the crack. Since computation is executed in the unit of each node in accordance with the characteristics of finite element analysis method, the node arrangement is important. In this study, the end portion and hole portion of crack is configured relatively densely in the triangular mesh in order to enable anticipate the unconstrained results on the progress of crack. The meshes in other section were configured relatively large to increase the efficiency of analysis. The number of meshes in this study model is 192,867. The element size and shape has best convergence through the grid independent procedure operated manually.
Fig. 2

Mesh structure of analysis model

KSPE_2019_v36n6_567_f002.jpg
2.2 Constraint Conditions
Fig. 3 illustrates the constraint conditions. The unconstrained conditions were granted to rotation as in the case of the actual CT experiment by granting the cylindrical support to the bottom hole of analysis model. In addition, the displacement is granted to the top and as the condition for the movement to the maximum of 10 mm statically, as in the case of CT experiment.
Fig. 3

Constraint conditions

KSPE_2019_v36n6_567_f003.jpg
The basic property values of SM45C, short fiber GFRP and woven type CFRP used in this study are given in the Table 1 Since short fiber GFRP is a material with large brittleness and, as such, has very small yield strength sector, it is possible to illustrate the material property by means of the ultimate strength. Since woven type CFRP has the bilinear material property due to the fiber structure, the tangent modulus is necessary. On the other hand, the tangent modulus is not necessary since SM45C is an isotropic elasticity material and the small fiber GFRP has more pronounced properties of reinforced plastic than bilinear properties.
Table 1

Material properties

Table 1
SM45C Short fiber
GFRP
Woven type
CFRP
Young’s modulus [MPa] 2.05 × 105 1.97 × 104 7 × 104
Poisson’s ratio 0.29 0.03 0.03
Yield strength [MPa] 343 - 960
Ultimate strength [MPa] 569 24.51 -
Tangent modulus [MPa] - - 2×103
2.3 Mathematical Computation Method of J-Integral
J-Integral method is used very frequently to confirm the stress intensity factor, which is a factor on the crack fracture in the finite element analysis method. However, prior to using J-Integral, it is necessary to check the displacement that appears in each of the elements inside the mesh. The equation used for this purpose is given as Eq. (1). As the crack appears, it may pass through the middle of the element or the crack that does not pass the node designated by the user can occur, and, in such case, computation on them is necessary. In order to cope with such phenomenon, the displacement computation equation on the imaginary node as illustrated in Eq. (2) is necessary.
(1)
ux=NIxuI+HxNIxaI
(2)
ux,t=uI1tNIxH-fx+uI2tNIxHfx
J-Integral equation is given as Eq. (3). The displacement is illustrated by using Eqs. (1) and (2) show above, and stress and strain energies comply with the results of the basic structural analysis.
(3)
J=σijujX1+wδ1iqXidA
As Eqs. (1)-(3) have been used as numerical expressions verified mathematically widely, the reliability in this paper can be guaranteed by utilizing the correct material property.
3.1 Equivalent Stress
Fig. 4 shows the results of equivalent stress on CT analysis research of each material. The maximum equivalent stresses of SM45C, short fiber GFRP and woven type CFRP were found to be approximately 123.18 GPa, 16.32 GPa, and 2.95 GPa, respectively. SM45C showed the highest equivalent stress while woven type CFRP showed the lowest equivalent stress. In addition, all the materials showed the maximum equivalent stress at the crack. The woven type CFRP, unlike other materials, showed relatively evenly distributed equivalent stress throughout the entire model. Although the woven type CFRP showed the highest strength on the basis of the property values, it was confirmed that SM45C had the highest stress in the results of equivalent stress analysis. That is, SM45C has stress intensity that is greater than that of woven type CFRP. In addition, as it can be confirmed in the property values, short fiber GFRP has the lowest strength among three materials. But the maximum equivalent stress higher than woven type CFRP was shown at short fiber GFRP.
Fig. 4

Contours of equivalent stress analysis of each material

KSPE_2019_v36n6_567_f004.jpg
At the analysis of composite material, the material fracture can be evaluated by the criteria of Tsai-Hill, Tsai-Wu, maximum stress and strain, etc. Various criteria become different according to view points. In this study, the analysis of solid type is carried out by being based on the material property data of CFRP with woven type and short fiber GFRP. That is, the fiber composite material is considered by not being divided with each layer. As the analysis is performed with the material property data as one solid, Von-Mises equivalent stress can be effectively used in this study.16
3.2 Total Deformation
Fig. 5 illustrates the results of the total deformation analysis of each of the materials of this study. The maximum total deformations of SM45C, short fiber GFRP, and woven type CFRP were found to be approximately 10.92 mm, 10.88 mm and 11.48 mm. The difference in the displacement, which is 10 mm at the maximum, and the total deformation analysis under constraint condition is the deformation of material. Woven CFRP is the material that shows the largest total deformation while short fiber GFRP shows the smallest total deformation. Woven CFRP, with fiber structure, has the large deformation due to the combination of fibers. In addition, the curvature at the top of the research model, which occurred only in short fiber GFRP, is a phenomenon that appeared due to the low strength of material. Short fiber GFRP shows the lowest total deformation value because the times of deformation and fracture of material, as a plastic-based material, are similar.
Fig. 5

Contours of total deformation analysis of each material

KSPE_2019_v36n6_567_f005.jpg
3.3 J-Integral
J-Integral value is related to the stress intensity and strain energy shown in the infinitesimal deformation field that appears in the crack. That is, if the scale of the crack increases due to the body force and loading force of the material, J-Integral value also increases. On the other hand, if there is a balance between body force and loading force, J-Integral becomes zero. If J-Integral is seen from such fundamental viewpoint, it would be possible to easily understand the J-Integral value manifested through this study, as illustrated in Fig. 6.
Fig. 6

Contours of J-Integral analysis of each material

KSPE_2019_v36n6_567_f006.jpg
Fig. 6 shows J-Integral manifested in the crack of each material used in this study. The maximum J-Integral values of SM45C, short fiber GFRP and woven type CFRP were found to be 74978 mJ/mm2, 7492.3 mJ/mm2 and 6222.4 mJ/mm2, respectively. SM45C is the material with the highest maximum J-Integral value while woven type CFRP is the material with the lowest maximum J-Integral value. Since woven type CFRP shows relatively quicker plasticity at low force, it can be seen easily that the growth of crack that manifests in the infinitesimal deformation field easily. However, in the case of woven type CFRP for which the manifestation of strength and stress intensity due to property values is low, it has lower J-Integral value than SM45C. This is because woven type CFRP also has plastic properties. SM45C is a representative plastic material with relatively small difference between the maximum and the minimum J-Integral values at approximately 13,066 mJ/mm2(17%). Moreover, it shows changes in values that are symmetric around the center of the material. However, woven type CFRP has relatively large difference between the maximum and the minimum J-Integral values at approximately 2510.4 mJ/mm2(40%). In addition, it is possible to confirm J-Integral values that are asymmetric around the center of materials, in the cases of woven type CFRP and short fiber GFRP.
In this study, the dynamic finite element analysis research on fracture due to crack was carried out by comparing those of GFRP and CFRP, which are lightweight materials at the next-generation with metallic material. The characteristics of cracks inside material and the microscopic fracture characteristics were evaluated by using mathematical grounds and analysis techniques at designing the mechanical structure. The CT experimental model and method designed on the basis of ASTM E647 were applied to this analysis. It is possible to analyze the fracture characteristics on crack growth by applying the J-Integral verified mathematically to the general structural analysis. The results of this study are as follows:
(1) Based on the results of equivalent stress analysis, although SM45C is the material happening with the largest stress, it can be disadvantageous when viewed from the special aspect of stress intensity. In case of woven type CFRP, the stress is relatively evenly distributed in the overall areas of model. That is, woven type CFRP can be deemed to have lower stress intensity and has high strength in the cracked area in comparison with ordinary metal. This is the characteristic of composite fiber material, which evenly distributes the loading force by delivering it in the fiber direction. However, in case of short fiber GFRP, the loading force is not delivered in the fiber direction due to the effect of short fiber that has been cut.
(2) Based on the results of total deformation analysis, the woven type CFRP is the material with the highest value while short fiber GFRP has the lowest value. In case of short fiber GFRP, it has the low total deformation due to the occurrence of fracture along with the deformation simultaneously because of the effect of plastic material. It is possible to predict this trend by confirming that there is curved shape at the top of model, and by checking the property values. In addition, the woven type CFRP has higher total deformation than SM45C. This reason is because this analysis considers the breaking up of the binding between the woven fibers due to the lower binding force between the fibers of woven carbon fiber than the binding force between metallic molecules of SM45C as much as the deformation.
(3) As the results of J-Integral analysis, when the cracked area of each material is checked, it can be assesses as two types of materials with plastic properties and one type of material with elastic properties from wider perspectives. Materials such as SM45C with elastic properties show J-Integral values, which are symmetric around the center in the cracked area. However, in the cases of short fiber GFRP and woven type CFRP, it can be confirmed that the J-Integral values are asymmetric around the center in the cracked area and that the line of crack growth is curved inconsistently. In particular, woven type CFRP shows the relatively severe flexure and this is the aspect that confirms the irregular occurrence of fracture in the fiber structure.
(4) In the results of J-Integral analysis, the resultant line of woven type CFRP appears to be relatively shorter than those of other materials. This can be understood easily when the manufacturing of woven type CFRP is checked. The composite fiber structured material is completed through the mixing of fiber and matrix. At this time, the fiber illustrates a diverse range of structures within the matrix. That is, although the matrix has lower strength than fiber, it can produce the desired configurations. On the other hand, although the fiber has strength that is greater than matrix, it cannot produce the desired configuration. The fracture of matrix occurs more easily and quicker and the fracture of fiber also occurs because these two materials are mixed. That is, the resultant line of woven type CFRP is short as the result of J-Integral analysis because of the occurrence of fracture of matrix and compression of fiber.
(5) Based on the analysis data, SM45C is the most trusted structural metal. However, it has very high stress intensity and more disadvantaged than woven type CFRP in terms of crack fracture. On the other hand, woven type CFRP shows advantages in terms of strength, and stress intensity and crack fracture. However, once the fracture of matrix occurs, the deformation enlarges and it loses much of its innate characteristics. In the case of short fiber GFRP, although it is a plastic material, it is a reinforced plastic with short fiber. Therefore, it does not show characteristics of fiber structure to the extent of woven type CFRP. As such, it allows the high level of weight reduction at low strength and has the advantage at designing structure freely.
“This research was supported by Basic Science Research Program through the National Research Foundation of Korea (NRF) funded by the Ministry of Education, Science and Technology (2015R1D1A1A01057607).” “This research was supported by Basic Science Research Program through the National Research Foundation of Korea(NRF) funded by the Ministry of Education (NRF-2018R1D1A1B07041627).”
  • 1.
    Kim, D. Y., Kim, H. S., and Kim, J. H., “Evaluation on Effect of Hole Machining for Application of M1.0 Subminiature Screw to CFRP Laminate Using FEM,” Journal of the Korean Society for Precision Engineering, Vol. 34, No. 2, pp. 95-99, 2017.
    10.7736/KSPE.2017.34.2.95
  • 2.
    Lee, J. E., Kang, D. S., Lee, B. H., Beak, J. H., Kim, J. G., et al., “A Study on Elastic Modulus Predictions and Dynamic Characteristics Analysis of Composite Structures Using CFRP (HPW193/RS1222),” Journal of the Korean Society for Precision Engineering, Vol. 33, No. 10, pp. 821-828, 2016.
    10.7736/KSPE.2016.33.10.828
  • 3.
    Jeong, J. Y., Je, T. J., and Jeon, E. C., “Analysis of Mechanical Properties of Polymer Material for Clear Aligner Using Uniaxial Tensile Test,” Journal of the Korean Society of Manufacturing Process Engineers, Vol. 17, No. 5, pp. 64-69, 2018.
    10.14775/ksmpe.2018.17.5.064
  • 4.
    Na, H. J., Chun, J. S., and Cho, K. S., “Development of CFRP Tubes for the Light-Weight Propeller Shaft of 4WD SUV Vehicles,” Journal of the Korean Society of Manufacturing Process Engineers, Vol. 17, No. 4, pp. 32-38, 2018.
    10.14775/ksmpe.2018.17.4.032
  • 5.
    Cho, J. U., Lee, O. S., and Kim, S. C., “Fatigue Crack Propagation between Holes and Particles,” Journal of the International Journal of Fracture, Vol. 56, No. 4, pp. 299-316, 1992.
    10.1007/BF00015861
  • 6.
    Kim, C. S., “A Study of the Heat Treatment Effect on the Fatigue Crack Growth Behavior in Dissimilar Weld Metal Joints of SA508 Low-Carbon Steel and AISI316 Austenitic Stainless Steel,” Journal of the Korean Society of Manufacturing Process Engineers, Vol. 17, No. 3, pp. 16-21, 2018.
    10.14775/ksmpe.2018.17.3.016
  • 7.
    Bang, H. J., Lee, S. K., Cho, C. D., and Cho, J. U., “Study on Crack Propagation of Adhesively Bonded DCB for Aluminum Foam Using Energy Release Rate,” Journal of Mechanical Science and Technology, Vol. 29, No. 1, pp. 45-50, 2015.
    10.1007/s12206-014-1207-y
  • 8.
    Cho, H. S., and Cho, J. U., “The Characteristics of Shear Adhesive Interface Fracture of Aluminum Foam DCB Bonded Using a Single-Lap Method,” International Journal of Precision Engineering and Manufacturing, Vol. 15, No. 7, pp.1345-1350, 2014.
    10.1007/s12541-014-0475-x
  • 9.
    Kim, C. S., “A Study of the Heat Treatment Effect on the Fatigue Crack Growth Behavior in Dissimilar Weld Metal Joints of SA508 Low-Carbon Steel and AISI316 Austenitic Stainless Steel,” Journal of the Korean Society of Manufacturing Process Engineers, Vol. 17, No. 3, pp. 16-21, 2018.
    10.14775/ksmpe.2018.17.3.016
  • 10.
    Yoon, J. I., “Study of the Mechanical Properties and Orthotropy of ABS Materials Fabricated by FDM Printing,” Journal of the Korean Society of Manufacturing Process Engineers, Vol. 17, No. 5, pp. 143-148, 2018.
    10.14775/ksmpe.2018.17.5.143
  • 11.
    Gao, T. and Cho, J. U., “A Study on Damage and Penetration Behaviour of Carbon Fiber Reinforced Plastic Sandwich at Various Impacts,” International Journal of Precision Engineering and Manufacturing, Vol. 16, No. 8, pp. 1845-1850, 2015.
    10.1007/s12541-015-0240-9
  • 12.
    Yang, I. Y., Jeong, J. Y., and Kim, J. H., “Fracture Toughness of CFRP Laminated Plates According to Resin Content,” International Journal of Precision Engineering and Manufacturing, Vol. 11, No. 2, pp. 309-313, 2010.
    10.1007/s12541-010-0035-y
  • 13.
    Cho, J. U., Cho, C. D., and Han, M. S., “Study of Dynamic Crack Propagation in 3PB Steel Specimens Loaded by Impact,” International Journal of Precision Engineering and Manufacturing, Vol. 10, No. 2, pp. 67-72, 2009.
    10.1007/s12541-009-0029-9
  • 14.
    ASTM International, “Standard Test Method for Measurement of Fatigue Crack Growth Rates,” http://www.randb.co.kr/wp-content/uploads/2018/03/ASTM-E647-Crack-measuring%ED%95%9C%EA%B8%801002151.pdf (Accessed 9 MAY 2019)
  • 15.
    Cho, J. U., “The Mechanical Behavior of the Crack Near the Distributed Defects,” Ph.D. Thesis, Inha University, 1986.
  • 16.
    Lee, J. E., Kang, D. S., Lee, B. H., Baek, J. H., Kim, J. G., et al., “A Study on Elastic Modulus Predictions and Dynamic Characteristics Analysis of Composite Structures Using CFRP (HPW193/RS1222),” Journal of the Korean Society for Precision Engineering, Vol. 33, No. 10, pp. 821-828, 2016.
    10.7736/KSPE.2016.33.10.828
  • 17.
    Kim, J. H., Ra, S. W., Kim, H. S., and Kim, J. H., “On Clamping Force Characteristics in M1.4 Subminiature Screw,” Journal of the Korean Society for Precision Engineering, Vol. 32, No. 6, pp. 517-521, 2015.
    10.7736/KSPE.2015.32.6.517
  • 18.
    Jeong, C. H., Kim, D. Y., Oh, H. S., and Cheon, S. S., “FE Analysis of Self-Piercing Rivet (SPR) Process and Tensile Behaviours,” Journal of the Korean Society for Precision Engineering, Vol. 35, No. 9, pp. 875-880, 2018.
    10.7736/KSPE.2018.35.9.875
  • 19.
    Ham, S. W., Cho, J. J., and Cheon, S. S., “On the Study of the Novel Type Tensile Specimen for Characterising Trixaiality of Eco-Al,” Journal of the Korean Society for Precision Engineering, Vol. 36, No. 1, pp. 73-77, 2019.
    10.7736/KSPE.2019.36.1.73
  • 20.
    Lim, T. W. and Yang, D. Y., “Fabrication of Nano-Size Specimens for Tensile Test Employing Nano-Indentation Device,” Journal of the Korean Society for Precision Engineering, Vol. 32, No. 10, pp. 911-916, 2015.
    10.7736/KSPE.2015.32.10.911
  • 21.
    Lee, D. G. and Suh, N. P., “Axiomatic Design and Fabrication of Composite Structures Applications in Robots, Machine Tools, and Automobiles,” Oxford University Press, 1st Ed., 2005.
Jae Woong Park
KSPE_2019_v36n6_567_bf001.jpg
Jae Woong Park is a graduate school student in the Division of Mechanical Engineering of Kongju National University, Cheonan. His fields of specialization are Fracture Mechanics(Dynamic Impact), Impact Fracture of Composite Material), Fatigue & Strength Evalua-tion, and Durability & Optimum Design.
Sung Ki Lyu
KSPE_2019_v36n6_567_bf002.jpg
Professor in Gyeongsang National University. His research interest is Gear, Gearbox, and Mechanical System Design.
Jae Ung Cho
KSPE_2019_v36n6_567_bf003.jpg
Jae Ung Cho received his M.S. and Doctor Degree in Mechanical Engineering from Inha University, Incheon, Korea, in 1982 and 1986, respectively. Now he is a professor in the Division of Mechanical & Automotive Engineering of Kongju National University, Korea. He is interested in the areas of fracture mechanics (Dynamic impact), composite material, fatigue and strength evaluation, and so on.

Download Citation

Download a citation file in RIS format that can be imported by all major citation management software, including EndNote, ProCite, RefWorks, and Reference Manager.

Format:

Include:

Comparative Study on J-Integrals of SM45C, Short Fiber GFRP and Woven Type CFRP Shown at Crack through Analytical Method
J. Korean Soc. Precis. Eng.. 2019;36(6):567-573.   Published online June 1, 2019
Download Citation

Download a citation file in RIS format that can be imported by all major citation management software, including EndNote, ProCite, RefWorks, and Reference Manager.

Format:
Include:
Comparative Study on J-Integrals of SM45C, Short Fiber GFRP and Woven Type CFRP Shown at Crack through Analytical Method
J. Korean Soc. Precis. Eng.. 2019;36(6):567-573.   Published online June 1, 2019
Close

Figure

  • 0
  • 1
  • 2
  • 3
  • 4
  • 5
Comparative Study on J-Integrals of SM45C, Short Fiber GFRP and Woven Type CFRP Shown at Crack through Analytical Method
Image Image Image Image Image Image
Fig. 1 Specifications for analysis model
Fig. 2 Mesh structure of analysis model
Fig. 3 Constraint conditions
Fig. 4 Contours of equivalent stress analysis of each material
Fig. 5 Contours of total deformation analysis of each material
Fig. 6 Contours of J-Integral analysis of each material
Comparative Study on J-Integrals of SM45C, Short Fiber GFRP and Woven Type CFRP Shown at Crack through Analytical Method

Material properties

SM45C Short fiber
GFRP
Woven type
CFRP
Young’s modulus [MPa] 2.05 × 105 1.97 × 104 7 × 104
Poisson’s ratio 0.29 0.03 0.03
Yield strength [MPa] 343 - 960
Ultimate strength [MPa] 569 24.51 -
Tangent modulus [MPa] - - 2×103
Table 1 Material properties