Skip to main navigation Skip to main content
  • E-Submission

JKSPE : Journal of the Korean Society for Precision Engineering

OPEN ACCESS
ABOUT
BROWSE ARTICLES
EDITORIAL POLICIES
FOR CONTRIBUTORS
REGULAR

블록 오버랩 기반 CNC의 사이클 타임 예측

Cycle Time Estimation of Block Overlap Based CNC

Journal of the Korean Society for Precision Engineering 2022;39(7):537-543.
Published online: July 1, 2022

1 한국기계연구원 초정밀장비연구실

1 Department of Ultra-Precision Machines and Systems, Korea Institute of Machinery & Materials

#E-mail: cylee@kimm.re.kr, TEL: +82-42-868-7129
• Received: March 3, 2022   • Revised: April 7, 2022   • Accepted: May 3, 2022

Copyright © The Korean Society for Precision Engineering

This is an Open-Access article distributed under the terms of the Creative Commons Attribution Non-Commercial License (http://creativecommons.org/licenses/by-nc/3.0) which permits unrestricted non-commercial use, distribution, and reproduction in any medium, provided the original work is properly cited.

  • 59 Views
  • 0 Download
prev next
  • This paper proposes a cycle time estimation algorithm of a CNC machine tool, using a block overlap based tool path generation algorithm. Velocity profile generation algorithm of CNC interpolator is proposed to compute the cycle time of the G-Code block. Because the CNC blends adjacent velocity profiles to reduce the cycle time and smooth the tool path, the cycle time is adjusted considering the block overlap. The in-position time of rapid traverse is compensated to improve the cycle time estimation accuracy. The simulation model was designed to estimate the cycle time of the CNC machine tool. A three-axis feed drive testbed was used to evaluate the cycle time estimation accuracy of the proposed algorithm.
공정 관리, 공정 최적화를 통해 생산성을 향상시키기 위해서 공작기계의 사이클 타임을 정확히 예측하는 것이 중요하다[1,2]. 공작기계는 가공을 위해 CNC에서 생성된 공구경로를 따라 이동하므로 이송경로의 속도 프로파일에 의해 사이클 타임이 결정된다. 따라서 사이클 타임 예측 정확도를 높이기 위해서는 CNC의 공구경로 생성 알고리즘이 사이클 타임의 증감에 미치는 영향을 고려해야 한다.
CNC는 속도 프로파일 생성 시 진동과 충격을 막기 위해 직선형, S곡선형 등의 가감속 알고리즘을 적용한다[3,4]. 사이클타임 단축과 코너 스무딩을 위해 가감속이 적용된 속도 프로파일에 블록 오버랩을 수행한다[5,6]. CNC에서 공구경로 생성 시 사용하는 알고리즘으로 인해 G 코드 블록의 이송길이와 이송속도만을 이용해 사이클 타임을 예측할 경우 정확도가 저하된다[7]. 따라서 CNC에서 사용하는 공구경로 생성 알고리즘을 사이클 타임 예측 시 반영하기 위한 다양한 연구가 진행되었다.
Siller [8]는 지령속도 및 경로와 CNC의 평균 지령 속도 간의 관계를 실험적으로 모델링하였다. Coelho [9]는 블록의 이송길 이에 따라 공작기계 이송계가 도달 가능한 최대 이송속도를 실험적으로 측정하였다. 제안된 방법들은 블록 이송길이와 실험 측정치로부터 보정 이송속도를 계산하여 사이클 타임을 예측한다. 하지만 공작기계에서 실험적으로 관계식을 도출하는데 많은 시간이 소요되고, 코너 스무딩 기법이 고려되지 않아 예측 정확도가 저하된다. Hbaieb [10]은 재료제거율을 이용해 황삭 밀링가공에서 사이클 타임을 예측하였다. 실험적으로 측정한 계수를 이용해 반경 방향 절삭 깊이에 따라 재료제거율을 보정하였다. 하지만 제안된 방법은 직선보간으로 구성된 사각형의 포켓 밀링 가공에만 적용 가능하다.
사이클 타임 예측 정확도를 향상시키고, 다양한 파트 프로그램에 대응하기 위해 CNC의 공구경로 생성 알고리즘을 이용하는 방법들이 제안되었다. Altintas [11]는 가상 CNC 시뮬레이션 모델로부터 공구경로를 생성하고, 이를 이용해 사이클 타임을 예측하는 방법을 제안하였다. 지수형 가감속 알고리즘의 시정수를 상용 CNC로부터 식별하였다. Ward [12]는 FIR 필터 기반의 코너링 오차 제한이 가능한 CNC 시뮬레이션 모델을 설계하여 공작기계의 사이클 타임을 예측하였다. 상용 CNC에서 측정된 속도 프로파일을 이용하여 FIR 필터의 시정수를 식별하였다. 제안된 방법들은 사이클 타임 예측 정확도가 높지만 예측을 위한 시뮬레이션의 연산 부하가 크고 시뮬레이션에 소모되는 시간이 길다.
본 논문에서는 블록 오버랩 기반의 공구경로 생성 기법을 사용하는 CNC의 사이클 타임을 예측하기 위한 알고리즘을 제안하였다. CNC의 가감속 알고리즘이 적용되었을 때 블록 이송시간, 가감속 시정수, 지령속도를 이용해 G 코드 블록별 사이클 타임을 계산하는 알고리즘을 제안하였다. 블록 오버랩으로 인한 사이클 타임 감소를 계산하기 위한 알고리즘을 제작하였다. 사이클 타임 예측 정확도를 향상시키기 위해 급이송 지령 시 인 포지션 확인으로 인해 소모되는 시간을 보정하였다. 제안된 알고리즘을 적용하여 사이클 타임을 예측하기 위한 시뮬레이션 모델을 제작하였다. 상용제어기가 적용된 3축 이송계 테스트베드를 활용하여 제안된 알고리즘의 사이클 타임 예측 정확도를 평가하였다.
2.1 속도 프로파일 생성 알고리즘
CNC는 높은 저크와 가속도로 인한 공작기계의 진동 및 충격을 방지하기 위해 속도 프로파일 생성 시 가감속 알고리즘을 적용한다. Figs. 1(a)1(b)는 각각 가감속 알고리즘 적용 전과 후의 속도 프로파일을 나타낸 것이다. Fig. 1에서 F는 지령속도(mm/s), Tb는 블록 이송시간(s), Ta는 가감속으로 인한 시간 지연(s)을 나타낸다. 가감속 알고리즘이 적용될 경우 G 코드 블록의 시점과 종점에서 각각 가속과 감속을 수행하게 되므로 가감속 시정수만큼 이송시간이 길어지게 된다. 따라서 가감속 알고리즘으로 인한 속도 프로파일의 시간 지연을 반영해야 사이클 타임의 예측 정확도 향상이 가능하다.
Fig. 1

Comparison of velocity profile

KSPE_2022_v39n7_537_f001.jpg
먼저 절삭지령의 사이클 타임 예측을 위해 속도 프로파일 생성 알고리즘을 제작하였다. 정상블록은 가감속 알고리즘 적용 시 지령속도에 도달이 가능하다. 블록 이송시간은 다음 식(1)과 같이 계산할 수 있다.
(1)
Tb=lF
l은 블록길이(mm)를 나타낸다. CNC 경로 생성 알고리즘은 실시간 시스템에 적용되므로 이송시간을 보간 주기의 정수배로 조정한다.
(2)
Tb=lFTITI
정상블록에서 가감속으로 인한 시간 지연은 가감속 시정수 AT (s)와 동일하며, 가감속 시정수는 보간 주기의 정수배로 설정된다. 가감속 알고리즘 적용 후의 사이클 타임 T (s)은 다음 식 (3)과 같이 계산할 수 있다.
(3)
T=Tb+Ta=lFTlTI+AT
미소블록은 식(1)에 의해 계산된 블록 이송시간이 가감속 시정수보다 작다. 미소블록은 지령된 블록길이 내에서 가속과 감속을 통해 지령속도에 도달하지 못한다. 본 연구에서는 미소블록인 경우 블록 이송시간과 가감속 시간을 조정하는 방법을 사용하였다. 속도 프로파일은 정상블록과 동일하게 가속, 등속, 감속구간으로 구성된다. 블록 이송시간은 다음 식(4)와 같이 가감속 시정수와 동일하게 조정한다.
(4)
Tb=AT
미소블록에서 도달 가능한 최대 속도는 지령속도보다 작다. Fig. 2는 가감속 알고리즘 적용 시 미소블록의 속도 프로파일을 나타낸 것이다. 미소블록에서 가감속으로 인한 시간 지연은 다음 식(5)와 계산할 수 있다.
(5)
Ta=lFTITI
Fig. 2

Trapezoidal velocity profile of short block

KSPE_2022_v39n7_537_f002.jpg
따라서 미소블록의 사이클 타임도 식(3)을 통해 계산할 수 있다.
급이송 지령은 CNC 공작기계 이송계를 고속으로 특정 위치까지 이송하기 위해 사용된다. Fig. 3은 급이송의 경로 생성 방식을 나타낸 것으로 직선 방식 급이송과 비직선 방식 급이송이 있다. Fig. 3에서 Ps는 시점, Pe는 종점을 나타낸다. 직선 방식 급이송은 시점과 종점을 직선으로 이송하도록 경로를 생성하며, 접선 방향의 속도가 급이송속도가 되도록 한다. 비직선 방식 급이송은 이송계 각 축이 도달해야 하는 지점까지 급이송속도로 움직이도록 경로를 생성한다.
Fig. 3

Rapid traverse comparison

KSPE_2022_v39n7_537_f003.jpg
직선 방식 급이송에서 가감속 알고리즘 적용 후에 급이송속도에 도달이 가능한 정상블록의 경우 블록 이송시간은 식(2)를 이용해 계산할 수 있다. 급이송의 가감속에는 급이송 시정수 ATR (s)가 사용된다. 가감속으로 인한 시간 지연은 급이송 시정수와 동일하다. 정상블록인 경우 사이클 타임은 다음 식(6)과 같이 계산할 수 있다.
(6)
T=Tb+Ta=lFrTITI+ATR
Fr은 급이송속도(mm)를 나타낸다. 비직선 방식 급이송에서 정상블록의 블록 이송시간은 다음 식(7)과 같이 계산한다.
(7)
Tb=max(Δx,Δy,Δz)FrTI
Δx, Δy, Δz는 각각 X, Y, Z축의 이송량(mm)을 나타낸다. 따라서 비직선 방식 급이송에서 정상블록의 사이클 타임은 다음 식(8)과 같이 계산한다.
(8)
T=Tb+Ta=max(Δx,Δy,Δz)FrTITI+ATR
급이송에서 미소블록인 경우 블록 이송시간이 가감속 시정수 보다 작다. 블록 이송시간을 가감속 시정수와 동일하게 조정하면 급이송에 소요되는 시간이 길어진다. 급이송시간 단축을 위해 미소블록에서는 급이송 시정수에 의해 설정된 최대의 가속도로 가감속을 수행하도록 속도 프로파일을 생성한다. Fig. 4는 급이송 미소블록의 속도 프로파일을 나타낸 것으로 가속과 감속 구간으로 구성되어 있다. 가감속 구간의 가속도 a (mm/s2)는 정상블록 속도 프로파일의 가속도와 동일하며, 다음 식(9)와 같이 계산한다.
(9)
a=Fr/ATR
Fig. 4

Velocity profile of short block in case of rapid traverse

KSPE_2022_v39n7_537_f004.jpg
Fig. 4에서 가속, 감속 구간의 총 이송거리가 블록길이와 동일해야 한다. 따라서 직선 방식 급이송에서 미소블록의 가감속으로 인한 시간 지연은 다음 식(10)과 같이 계산할 수 있다.
(10)
Ta=la
CNC는 실시간 시스템에 적용되므로 급이송의 경우도 가감속 시정수를 보간 주기의 정수배로 조정한다.
(11)
Ta=1TI×laTI
비직선 방식 급이송인 경우 최대 이송량을 가지는 축의 이송거리를 통해 미소블록의 가감속 시정수를 계산할 수 있다.
(12)
Ta=1TI×max(Δx,Δy,Δz)AaTI
블록 이송시간은 Ta와 동일하게 조정한다. 따라서 직선 방식과 비직선 방식에서 미소블록인 경우 사이클 타임은 2 Ta이다. 급이송 시 선형 가감속 알고리즘을 적용할 경우 높은 가속도와 무한대의 저크로 인해 기계의 진동을 야기할 수 있다. 이 경우 Fig. 5와 같이 S곡선형 가감속 알고리즘이 활용된다. S곡선형 가감속 알고리즘을 적용할 시 급이송 시정수와 급이송 S곡선 가감속 시정수 As (s)의 합에 해당하는 시간 지연이 발생한다. 직선형 급이송에서 정상블록에 S곡선형 가감속 알고리즘을 적용할 경우 사이클 타임은 다음 식(13)과 같이 계산할 수 있다.
(13)
T=Tb+Ta+Ts=lFrTITI+ATR+As
Fig. 5

S-Curve type velocity profile in case of rapid traverse

KSPE_2022_v39n7_537_f005.jpg
비직선형 급이송의 정삭블록인 경우는 사이클 타임을 다음 식(14)와 같이 계산할 수 있다.
(14)
T=Tb+Ta+Ts=max(Δx,Δy,Δz)FrTITI+ATR+As
S곡선형 가감속 알고리즘을 적용하는 경우 미소블록의 Ta는 경로생성방식에 따라 각각 식(11)식(12)를 이용해 계산할 수 있다. 블록 이송시간은 Ta와 동일한 값으로 조정한다. S곡선 가감속 시정수는 조정하지 않는다. 따라서 직선 방식 급이송에서 S곡선형 가감속 알고리즘을 적용할 경우 미소블록의 사이클 타임은 다음 식(15)와 같다.
(15)
T=Tb+Ta+Ts=21TI×laTI+As
비직선 방식 급이송인 경우 다음 식(16)과 같이 미소블록의 사이클 타임을 계산할 수 있다.
(16)
T=Tb+Ta+Ts=21TI×max(Δx,Δy,Δz)AaTI+As
2.2 블록 오버랩 알고리즘
공구경로 생성 시 가감속 알고리즘으로 인해 시정수만큼 사이클 타임이 길어진다. CNC 사이클 타임의 증가를 방지하기 위해 인접한 속도 프로파일을 중첩하는 블록 오버랩 알고리즘을 적용한다. 급이송은 위치 결정에 사용되는 지령으로 블록 오버랩 알고리즘이 적용되지 않는다. 현재 블록과 다음 블록이 절삭지령일 경우에만 블록 오버랩 알고리즘을 적용한다.
정상블록과 정상블록이 인접한 경우에는 Fig. 6과 같이 첫 번째 블록의 가속 구간과 두 번째 블록의 감속 구간을 중첩한다. 설정된 가감속 시정수만큼 속도 프로파일을 중첩하기 때문에 가감속 알고리즘 적용에 따른 사이클 타임 증가를 방지할 수 있다. 미소블록은 가감속 시정수를 블록의 이송시간에 맞춰 조정하였다. 따라서 감속 구간의 시간이 가감속 시정수보다 짧다. 미소블록이 포함된 경우에는 블록 오버랩 시 Fig. 7과 같이 미소블록의 등속 구간이 시작되면 인접한 블록의 속도 프로파일을 중첩한다. 따라서 미소블록이 2개 이상 중첩되는 경우 첫 번째 블록이 종료되기 전에 2개 이상의 속도 프로파일이 중첩될 수 있다.
Fig. 6

Velocity profile generated by block overlap

KSPE_2022_v39n7_537_f006.jpg
Fig. 7

Velocity profile generated by block overlap

KSPE_2022_v39n7_537_f007.jpg
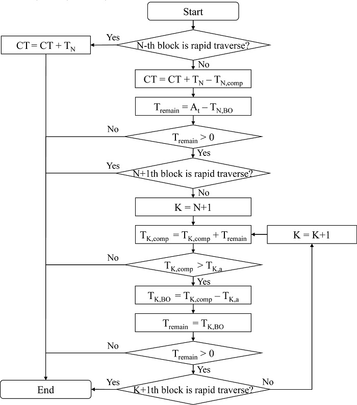
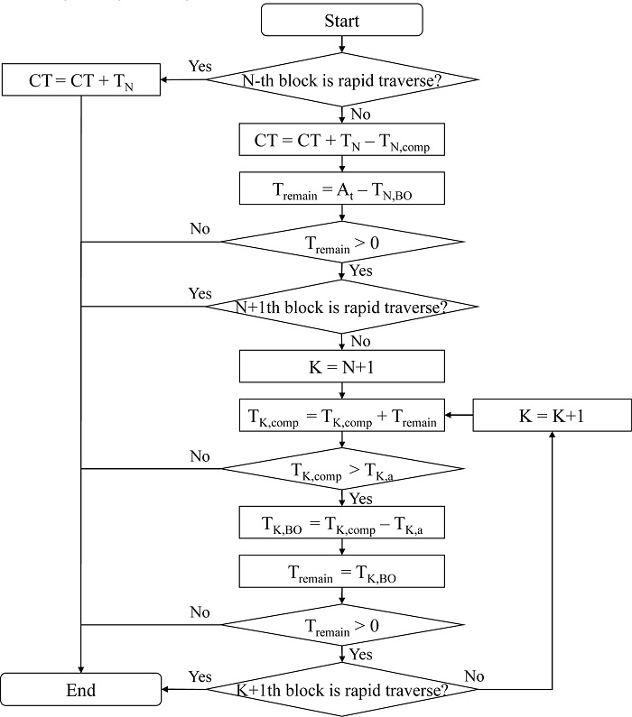
Fig. 8은 N번째 G 코드 블록에서 정상블록, 미소블록이 모두 포함된 경우 블록 오버랩 알고리즘을 고려하여 사이클 타임을 계산하기 위한 블록 다이어그램을 나타낸 것이다. CT는 전체 사이클 타임(s)이다. TN, TN,a는 각각 N번째 블록의 사이클 타임(s)과 N번째 블록의 가감속으로 인한 시간 지연(s)이다. TN,comp는 N번째 블록에서 블록 오버랩으로 인한 보상시간(s)이고, TN,BO는 N번째 블록에서 블록 오버랩된 시간(s)이다. Tremain은 블록 오버랩이 가능한 시간(s)이다.
Fig. 8

Block diagram of block overlap

KSPE_2022_v39n7_537_f008.jpg
2.3 인 포지션 시간 보상
급이송 지령은 CNC 공작기계 이송계의 위치 결정을 고속으로 하기 위해 사용된다. 이송계에 작용하는 마찰력, 외란 등에 의해 항상 추종 오차가 발생하므로 급이송 블록 종료 직후 이송계는 지령된 종점에 도달하지 못한다. CNC는 인 포지션(In-Position) 기능을 제공하여 각 축의 실제 위치가 블록의 종점으로부터 설정된 범위 내에 도달하기까지 다음 블록의 실행을 중지한다. 따라서 인 포지션 확인에 소모되는 시간만큼 사이클 타임이 길어진다. 인 포지션 확인에 소모되는 시간을 보상함으로써 사이클 타임 예측 정확도를 향상시킬 수 있다.
인 포지션 시간은 공작기계 이송계의 추종성능에 따라 달라지므로 이송계의 동적 모델이 필요하다. 따라서 시뮬레이션 기반 인 포지션 시간 예측에는 동적 모델 구성을 위한 마찰, 질량 등과 같은 파라미터 식별이 필요하며, 시뮬레이션 수행으로 인한 사이클 타임 예측 소모시간이 증가한다. 본 연구에서는 공작기계 이송계의 축별 인 포지션 시간을 실험적으로 측정한 값을 보상에 사용하였다. CNC에서 측정한 공구경로와 이송계의 실제 위치를 사용하여 급이송 블록 종료 시점으로부터 이송계가인 포지션 위치에 도달하기까지의 시간을 측정하였다. 공작기계 이송계 각 축마다 인 포지션 시간을 반복 측정한 후 평균값을 보정값으로 사용하였다. 두 축 이상의 이송계에 동시에 급이송이 지령되었을 경우 인 포지션 확인 시간이 긴 축의 값을 보정에 사용한다.
2.4 사이클 타임 예측 모델
본 연구에서는 CNC 공작기계의 사이클 타임을 예측하기 위한 시뮬레이션 모델을 제작하였다. 시뮬레이션 모델은 해석기, 속도 프로파일러, 사이클 타임 계산기, 인 포지션 시간 보상기로 구성되어 있다.
해석기는 파트 프로그램과 CNC 파라미터를 입력 받아 사이클 타임 계산에 필요한 기본 정보를 추출한다. 이송속도, G 코드 정보, 종점 좌표 등의 정보를 해석한다. 해석기는 이송 관련 G 코드로 급이송(G00), 직선보간(G01), 원호보간(G02/G03), 드웰(G04)을 지원한다.
속도 프로파일러는 해석기에서 추출한 G 코드 정보를 활용해 각 블록에서 가감속 알고리즘이 적용된 속도 프로파일 생성을 위한 정보를 계산한다. 블록의 길이와 이송속도를 고려해 블록 이송시간을 계산한다. 가속 및 감속에 의한 시간 지연을 보상하여 각 G 코드 블록의 사이클 타임을 계산한다.
사이클 타임 계산기는 블록 오버랩 알고리즘이 적용된 파트 프로그램의 총 사이클 타임을 계산한다. 블록 오버랩 알고리즘은 인접한 블록이 모두 절삭 이송일 경우 적용되며, 급이송 지령이나 드웰이 있을 경우 해당 블록이 종료될 경우 다음 블록이 실행된다. 인 포지션 시간 보상기는 급이송 지령에서 인 포지션 확인에 소모된 시간을 보정하여 최종 사이클 타임을 계산한다.
상용 CNC를 탑재한 3축 이송계 테스트베드를 이용해 제안한 사이클 타임 예측 시뮬레이션 모델의 성능을 평가하였다. Fig. 9는 실험에 사용한 3축 이송계 테스트베드를 나타낸 것이다. 3축 이송계의 공구경로 생성, 모션 제어를 위해 상용 CNC 제조사인 Fanuc사의 0i-MD CNC를 사용하였다.
Fig. 9

Three-axis machine tool feed drive testbed

KSPE_2022_v39n7_537_f009.jpg
3축 이송계 각 축에 급이송 지령을 인가하여 인 포지션 확인에 소요되는 시간을 실험적으로 측정하였다. X, Y, Z축 각 축에 대해서 5회의 반복 실험을 수행하였으며, 각 실험에서 측정된 값의 평균을 인 포지션 확인 시간 보정값으로 사용하였다. 실험을 통해 측정된 X축과 Y축의 인 포지션 확인 시간 보정값은 25이고, Z축은 120 ms이다.
제안된 사이클 타임 예측 모델의 정확도 평가를 위해 CNC 보간 파라미터를 변경하며 실험을 수행하였다. 사이클 타임 예측을 위한 파트 프로그램으로는 ISO 10791-7의 표준시편 가공을 위한 프로그램을 사용하였으며, Fig. 10은 해당 궤적을 나타낸 것이다. Matlab을 이용하여 사이클 타임 예측 모델을 제작하였다.
Fig. 10

Trajectory for evaluation

KSPE_2022_v39n7_537_f010.jpg
먼저 급이송 시정수, 급이송 S곡선 가감속 시정수, 절삭이송 가감속 시정수를 각각 150, 30, 50 ms를 설정하였다. 급이송속도는 10,000 mm/min을 설정하였으며, 직선 방식 급이송을 적용하였다. 사이클 타임 측정을 위해서 Fanuc Servo Guide 프로그램을 사용하였다. 실험적으로 측정된 사이클 타임은 2,169.1 s 였으며, 시뮬레이션 모델을 통해 예측한 사이클 타임은 2,172.4 s 이다. 사이클 타임 예측 정확도는 99.8%이다. 인 포지션 확인 시간 보정값의 오차와 시간 보간 주기의 정수배를 하면서 발생하는 반올림 오차 등으로 인해 사이클 타임 예측 시 1% 이내의 오차가 발생한다. 사이클 타임 예측에 소요된 시뮬레이션 시간은 1 s 이내이다.
다음으로 급이송 가감속 시정수로 100 ms, 급이송 벨형 가감속 시정수 20 ms, 절삭이송 가감속 시정수로 100 ms를 설정한 후 사이클 타임 예측 정확도를 평가하였다. 3축 이송계에서 측정된 사이클 타임은 2,157.3 s였으며, 제안된 시뮬레이션 모델에서 예측된 사이클 타임은 2,172.0 s였다. 제안된 모델의 사이클 타임 예측 정확도는 99.3%이다.
본 논문에서는 블록 오버랩이 적용된 CNC의 사이클 타임을 예측하는 방법을 제안하였다. 제안된 방법은 블록 이송길이, 지령속도, 가감속 시정수 정보만을 이용해 사이클 타임을 계산하기 때문에 연산부하가 낮고, 시뮬레이션에 소모되는 시간이 적다. 30분 이상의 사이클 타임을 가지는 ISO 10791-7 표준시편 가공 파트 프로그램 기준으로 1 s 이내의 시뮬레이션 시간으로 정확한 사이클 타임 예측이 가능하였다. 상용 CNC의 가감속 시간을 변경하며 사이클 타임 예측 정확도를 검증하였으며, 제안된 모델이 99% 이상의 정확도로 사이클 타임 예측이 가능함을 확인하였다. 상용 CNC에 사용되는 가감속 시정수를 제안된 모델에 동일하게 사용 가능하며, 상용 CNC를 사용하는 공작기계에도 제안된 방법의 적용이 가능하다.
이 연구는 산업통상자원부의 제조장비시스템 스마트 제어기기술개발사업(No. 20012834, 스마트 제조장비용 CNC 제어시스템 기술 개발) 및 기계산업핵심기술개발사업(No. 20000285, 장비/제어/공정 통합 가상공작기계 기술 및 이에 기반한 공작기계 지능화 원천기술 개발)의 지원으로 수행하였습니다.
  • 1.
    Liu, C., Li, Y., Wang, W., Shen, W., (2013), A feature-based method for NC machining time estimation, Robotics and Computer-Integrated Manufacturing, 29(4), 8-14.
    10.1016/j.rcim.2012.10.001
  • 2.
    So, B., Jung, Y., Park, J., Lee, D., (2007), Five-axis machining time estimation algorithm based on machine characteristics, Journal of Materials Processing Technology, 187, 37-40.
    10.1016/j.jmatprotec.2006.11.159
  • 3.
    Tajima, S., Sencer, B., (2016), Kinematic corner smoothing for high speed machine tools, International Journal of Machine Tools and Manufacture, 108, 27-43.
    10.1016/j.ijmachtools.2016.05.009
  • 4.
    Wang, W., Hu, C., Zhou, K., He, S., (2019), Corner trajectory smoothing with asymmetrical transition profile for CNC machine tools, International Journal of Machine Tools and Manufacture, 144, 103423.
    10.1016/j.ijmachtools.2019.05.007
  • 5.
    Lee, C.-Y., Min, J., Min, B.-K., (2017), Limiting tool path error generated by corner blending of CNC interpolator, Journal of the Korean Society for Precision Engineering, 34(10), 695-700.
    10.7736/KSPE.2017.34.10.695
  • 6.
    Sencer, B., Ishizaki, K., Shamoto, E., (2015), High speed cornering strategy with confined contour error and vibration suppression for CNC machine tools, CIRP Annals, 64(1), 369-372.
    10.1016/j.cirp.2015.04.102
  • 7.
    Heo, E.-Y., Kim, D.-W., Kim, B.-H., Chen, F. F., (2006), Estimation of NC machining time using NC block distribution for sculptured surface machining, Robotics and Computer-Integrated Manufacturing, 22(5-6), 437-446.
    10.1016/j.rcim.2005.12.008
  • 8.
    Siller, H., Rodriguez, C. A., Ahuett, H., (2006), Cycle time prediction in high-speed milling operations for sculptured surface finishing, Journal of Materials Processing Technology, 174(1-3), 355-362.
    10.1016/j.jmatprotec.2006.02.008
  • 9.
    Coelho, R. T., de Souza, A. F., Roger, A. R., Rigatti, A. M. Y., de Lima Ribeiro, A. A., (2010), Mechanistic approach to predict real machining time for milling free-form geometries applying high feed rate, The International Journal of Advanced Manufacturing Technology, 46(9), 1103-1111.
    10.1007/s00170-009-2183-8
  • 10.
    Hbaieb, M., Othmani, R., Bouzid, W., (2011), Time modeling in high-speed machining of mold pocket, The International Journal of Advanced Manufacturing Technology, 53(1), 113-120.
    10.1007/s00170-010-2844-7
  • 11.
    Altintas, Y., Tulsyan, S., (2015), Prediction of part machining cycle times via virtual CNC, CIRP Annals, 64(1), 361-364.
    10.1016/j.cirp.2015.04.100
  • 12.
    Ward, R., Sencer, B., Jones, B., Ozturk, E., (2021), Accurate prediction of machining feedrate and cycle times considering interpolator dynamics, The International Journal of Advanced Manufacturing Technology, 116(1), 417-438.
    10.1007/s00170-021-07211-2
Chan-Young Lee
KSPE_2022_v39n7_537_bf001.jpg
Senior researcher in the Korea Institute of Machinery & Materials. His research interest is CNC interpolation and digital twin simulation
Seung-Kook Ro
KSPE_2022_v39n7_537_bf002.jpg
Principal researcher in the Korea Institute of Machinery & Materials. His research interests are control system and actuator design for precision machines.
Chang Kyu Song
KSPE_2022_v39n7_537_bf003.jpg
Principal researcher in the Korea Institute of Machinery & Materials. His research interest is CNC system and machine tool manufacturing.
Jeong Seok Oh
KSPE_2022_v39n7_537_bf004.jpg
Principal researcher in the Korea Institute of Machinery & Materials. His research interest is Precision machines and Metrology.

Download Citation

Download a citation file in RIS format that can be imported by all major citation management software, including EndNote, ProCite, RefWorks, and Reference Manager.

Format:

Include:

Cycle Time Estimation of Block Overlap Based CNC
J. Korean Soc. Precis. Eng.. 2022;39(7):537-543.   Published online July 1, 2022
Download Citation

Download a citation file in RIS format that can be imported by all major citation management software, including EndNote, ProCite, RefWorks, and Reference Manager.

Format:
Include:
Cycle Time Estimation of Block Overlap Based CNC
J. Korean Soc. Precis. Eng.. 2022;39(7):537-543.   Published online July 1, 2022
Close

Figure

  • 0
  • 1
  • 2
  • 3
  • 4
  • 5
  • 6
  • 7
  • 8
  • 9
Cycle Time Estimation of Block Overlap Based CNC
Image Image Image Image Image Image Image Image Image Image
Fig. 1 Comparison of velocity profile
Fig. 2 Trapezoidal velocity profile of short block
Fig. 3 Rapid traverse comparison
Fig. 4 Velocity profile of short block in case of rapid traverse
Fig. 5 S-Curve type velocity profile in case of rapid traverse
Fig. 6 Velocity profile generated by block overlap
Fig. 7 Velocity profile generated by block overlap
Fig. 8 Block diagram of block overlap
Fig. 9 Three-axis machine tool feed drive testbed
Fig. 10 Trajectory for evaluation
Cycle Time Estimation of Block Overlap Based CNC